locomotives:locochassis:compensated_frame.png
compensated_frame.png
- Date:
- 2021/02/09 21:43
- Filename:
- compensated_frame.png
- Format:
- PNG
- Size:
- 11KB
- Width:
- 437
- Height:
- 375
- References for:
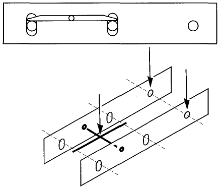
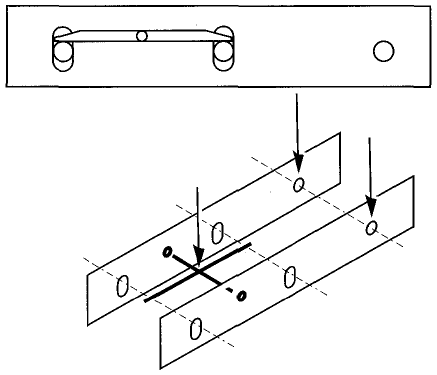
- chassis_design
This list might not be complete due to ACL restrictions and hidden pages.
